排序
抖音电商内测“偏远地区物流服务”方案 针对新疆和西藏等偏远地区
抖音电商正在测试“偏远地区物流服务”方案,针对新疆、西藏等偏远地区推出中转仓模式。据测算,与直邮模式相比,中转模式可降低物流成本40%以上。这项服务将于10月27日上线,商家在店铺后台下...
中通、顺丰成为抖音电商“抖音七夕好礼季”特邀物流合作伙伴
抖音电商平台近日宣布,在2023年的“抖音七夕好礼季”活动中,针对鲜切花品类,抖音电商平台邀请物流合作伙伴“中通快递”和“顺丰速运”,为商家业绩和消费者购物体验提供优质的物流运营保障。...
抖音有的,美团也必须有 美团上线「团购配送」
距离抖音推出“团购配送”4个月有余,美团终于作出了实质性的反击。 美团在4月11日的内部生态会议中宣布,将于4月17日在全国20多个城市上线团购配送业务,包括北京、上海、广州、深圳、成都等一...
抖音生活发布3月MCN“机构月度排行榜” 聚亮文化排名第一
4月7日消息,抖音生活服务2023年3月“机构月度排行榜”正式发布。成功入驻抖音生活服务机构平台并缴纳保证金的机构,可通过孵化不同等级达人获得不同的积分,按照机构平台绑定达人的等级积分求...
抖音电商“山货上头条”助农项目“风味安徽”线上专区
4月4日消息,抖音电商“山货上头条”助农项目日前深入安徽,在抖音电商开设“风味安徽”线上专区,通过培训商家作者、活动营销、产业带定向帮扶等措施,助力六安瓜片茶、黄山金菊、毛峰、安徽土...
韵达成为抖音平台首家认证快递服务商
4月1日消息,据报道,韵达正式受邀成为抖音平台首家认证快递服务商,共同提升消费者物流体验。 作为抖音平台首家认证快递服务商,韵达将为抖音电商提供产品分层保障、提供客服专线等服务,提供...
消息称 抖音泛商城“起势”,正在测试商业化
抖音电商去年开始的核心战略“做大商城”有了明显起色。 从多位知情人士处获悉,去年四季度至今年的1-2月,在整个抖音电商大盘里,抖音泛商城(含商城、搜索、橱窗)单月GMV占比已稳定在接近30%...
抖音电商彻底开放卖家入驻
1.抖音电商开放个人店入驻 时隔两年,抖音电商再次开放个人店入驻。 2023年3月起,个人仅需提供符合要求的身份证并通过实名认证,即可在抖音电商注册“抖音小店”成为商家,享受最快1小时快速开...
抖音电商开展欺诈发货专项治理 1月以来共计处罚商家257家
2月28日消息,抖音电商日前发布关于商家“欺诈发货”违规的处罚公示称,平台近期排查发现,部分商家在履约过程中存在欺诈发货行为,包括但不限于:商家未真实发货、商家上传的订单物流单号或对...
抖音电商开放个人店入驻
2月28日消息,抖音电商发布9大入驻权益,面向部分类目商家开放个人店极速入驻、0元入驻、商品卡免佣等9条扶持政策,助力新商家开店无忧,同时加大对中小新商家扶持力度,帮助商家降低成本增加营...
2022年抖音休娱购物行业交易总额增长超10倍
2月26日消息,抖音心动生活局·休娱购物行业大会成都站活动近日举行,抖音生活服务休娱购物行业运营负责人肖均、抖音生活服务休娱购物行业川渝滇业务负责人邱朝政分别解读了抖音生活服务休娱购...
抖音生活服务2023餐饮行业城市生态大会2月28日落地天津
2月26日消息,抖音生活服务餐饮业务中心主办的“城市新食代”2023餐饮行业城市生态大会将于2月28日在天津举行。活动由天津市委网信办、天津市商务局指导,将采用'线下活动+线上直播'联动的形式...
消息称抖音电商测试PC端购物与种草带货
抖音电商测试PC端购物与种草带货 抖音网页版也能购物了。 2021年,抖音正式上线PC网页版,用户可以直接打开抖音官网观看视频和直播。 上线后的一年多时间里,抖音PC端和移动端一样,支持登录、...
短兵相接!美团与抖音开启外卖之争
本地生活这块很难持续做大的蛋糕,抖音多吞一块,美团就要少分一口。 有4年美团代运营、1年抖音服务商经验的张蓉,从去年四季度开始就已明显感受到“变天了”。“抖音团购的单量增长太快了,有...
抖音在外卖领域 疯狂试探
抖音的外卖梦想 近日有消息称,抖音将于3月1日上线全国外卖服务,目前已在北上广三地进行内测。同时,字节跳动招聘官网已挂出外卖商品高级运营经理、外卖行业解决方案运营、餐饮直播达人运营高...
中国邮政两个抖音直播间销售额突破5000万元
2月6日消息,据报道,入局直播带货一年多,中国邮政的矩阵号中,诞生了多个月销上千万元的直播间。 具体来看,中国邮政在抖音上有100多个账号与直播间,从粉丝规模来看,除了中国邮政主号外,旗...
抖音推出团购配送服务 北京、上海三城自助入驻开启
1月17日消息,抖音生活服务推出团购配送,旨在为更多餐饮商户提供新的经营场景和有效的经营增长路径。 目前,开启北京、上海、成都3个城市自助入驻。在“团购配送”方式下,商家能够以套餐的形...
抖音电商与极兔等物流合作伙伴签署保障协议
1月12日消息,抖音电商发布公告称,为更好的保障商家的正常发货和物流履约质量,平台特邀物流合作伙伴“中通快递”、“韵达快递”、“圆通速递”、“极兔速递”,为商家履约和消费者购物体验提...
抖音电商:截至年底平台整体发货时间缩短3至4小时
1月11日消息,抖音电商发布了《2022抖音电商平台治理年度报告》,从打造优质服务体系、购物环境和内容生态,以及保护知识产权和信息安全等五个维度,全面盘点去年平台治理的相关举措和成果。 报...
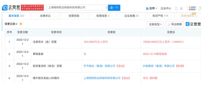
抖音集团旗下公司增资至1亿元
近日,上海格物致远网络科技有限公司发生工商变更,公司注册资本由100万元人民币增至1亿元人民币,增幅9900%。企查查股权穿透显示,该公司由抖音集团(香港)有限公司全资持股。 抖音集团,增资




















